GCQ型自清洗式水過濾器

GCQ型自清洗式水過濾器

  • 質量穩定
  • 價格合理
  • 交貨快捷
  • 泰通閥門為您提供全套工程閥門解決方案
  • 銷售:021-6810 3333    6139 0811
  • 傳真:021-5168 6322
  • 地址:上海南匯空港工業區金聞路1288號

詳細介紹

產品用途
本產品適用于造紙、鋼鐵、化工、發電和環保等需連續用水的場合,用于濾除水體中的固態顆粒和雜質,確保其后續或終端設備能順利運行,是一種先進、高效且易操作的全自動過濾裝置。

 

結構特點與工作原理
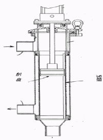
GCQ型自清洗式水過濾器由殼體、多元濾芯、反沖洗機構、電控箱、減速機、電動閥門和差壓控制器等部分組成。殼體內的橫隔板將其內腔分為上、下兩腔,上腔內配有多個過濾芯,這樣充分利用了過濾空間,顯著縮小了過濾器的體積,下腔內安裝有反沖洗吸盤。工作時,濁液經入口進入過濾器下腔,又經隔板孔進入濾芯的內腔。大于過濾芯縫隙的雜質被截留,凈液穿過縫隙到達上腔,最后從出口送出。
本過濾器濾芯采用高強度的Johnson楔形濾網,通過壓差控制、定時控制自動清洗濾芯。當過濾器內雜質積聚在濾芯表面引起進出口壓差增大到設定值,一般設定值為0.04MPa,或定時器達到預置時間時,電動控制箱發出信號,驅動反沖洗機構。當反沖洗吸盤口與濾芯進口正對時,排污閥打開,此時系統泄壓排水,吸盤與濾芯內側出現一個相對壓力低于濾芯外側水壓的負壓區,迫使部分凈水從濾芯外側流入濾芯內側,吸附在濾芯內壁上的雜質微粒隨水流進吸盤內并從排污閥排出。特殊設計的Johnson網使得濾芯內部產生噴射效果,任何雜質都將被從光滑的內壁上沖走。當過濾器進出口壓差恢復正常或定時器設定時間結束,電機停止運轉,電動排污閥關閉。整個過程中,物料不斷流,反洗耗水量少,實現了連續化,自動化生產。

產品結構

主要技術參數

  公稱直徑:DN50~DN800mm
  設計壓力:1.0MPa(另外有1.6MPa和2.5MPa可供選用)
  過濾精度:(1)沖孔板結構:≥1000μm(2)復合編織網結構:≥25 μm(3)Johnson楔形網:≥100μm
  差壓設定值調節范圍:0.02~0.16MPa
  切換差調節范圍:0.035~0.15MPa
  反沖洗時間設定范圍:1~24h
  壓力損失:0.02~0.1MPa
  工作方式:手動、自動
  電機參數:380V 50HZ
  電機功率:0.15~2.2KW

溫馨提示:“GCQ型自清洗式水過濾器”所有文字、數據、圖片均只適用于參考。
如需與實物相吻合的性能參數、結構尺寸參數等詳情請來電來函索取。
電話:021-68103333    傳真:021-51686322
  • 泰通二維碼掃一掃關注我們
  • 聯系我們
  • 公司地址:上海南匯空港工業區金聞路1288號
  • 浙江基地:溫州甌北東甌工業區
  • 銷售:021-68103333 
  • 郵箱:shttv@qq.com
© 2017 上海泰通閥門有限公司 版權所有 滬ICP備11033150號
Top

[關閉]免費接聽泰通銷售工程師電話

輸入手機或固定電話號碼,點擊“免費咨詢”按鈕后,
我們的服務人員會在15秒內回撥您。

手機請直接輸入:如 13878800000
座機前請加區號:如 02168103333
我們已對本次通話全程加密,您的通話費用我們已經幫您支付,請放心接聽!
免費通話所產生的費用由我們來支付,請放心接聽!
銷售熱線:021-6810 3333