ZLF-16型自力式平衡閥

ZLF-16型自力式平衡閥

  • 質量穩定
  • 價格合理
  • 交貨快捷
  • 泰通閥門為您提供全套工程閥門解決方案
  • 銷售:021-6810 3333    6139 0811
  • 傳真:021-5168 6322
  • 地址:上海南匯空港工業區金聞路1288號

詳細介紹

產品特點及用途
ZLF6型自力式平衡閥,是一種利用介質自身的壓力變化進行自我控制而保持流經該被控系統流量不變的閥門,并具有流量指示,調節方便,適用于供熱空調等非腐蝕性介質的流量控制。運行前一次性調節。即可使系統流量自動恒定在要求的高寒值。
主要技術參數
型號 公稱壓力 殼體試驗壓力 使用介質 介質溫度
ZL47F6 1.6MPa 2.4 MPa 水、油等非腐蝕性液體 0~100℃
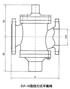
主要外形尺寸 (法蘭連接PN1.6Mpa按JB、T79-94標準)
DN 15 20 25 32 40 50 65 80 100 125 150 200 250 300 350 備注
L 110 110 115 160 200 215 230 275 290 310 350 430 520 635 670 DN15~25
為螺紋連接
H1 72 72 81 108 138 138 143 170 193 208 254 289 325 357 372
H2 70 70 74 91 147 147 154 189 211 227 260 303 367 430 495
流量m3/h 0.1~1 0.1~1.5 0.2~2 0.5~4 1~6 2~10 3~15 5~25 10~35 15~50 30~80 40~180 100~300 150~500 200~
700
產品尺寸
溫馨提示:“ZLF-16型自力式平衡閥”所有文字、數據、圖片均只適用于參考。
如需與實物相吻合的性能參數、結構尺寸參數等詳情請來電來函索取。
電話:021-68103333    傳真:021-51686322
  • 泰通二維碼掃一掃關注我們
  • 聯系我們
  • 公司地址:上海南匯空港工業區金聞路1288號
  • 浙江基地:溫州甌北東甌工業區
  • 銷售:021-68103333 
  • 郵箱:shttv@qq.com
© 2017 上海泰通閥門有限公司 版權所有 滬ICP備11033150號
Top

[關閉]免費接聽泰通銷售工程師電話

輸入手機或固定電話號碼,點擊“免費咨詢”按鈕后,
我們的服務人員會在15秒內回撥您。

手機請直接輸入:如 13878800000
座機前請加區號:如 02168103333
我們已對本次通話全程加密,您的通話費用我們已經幫您支付,請放心接聽!
免費通話所產生的費用由我們來支付,請放心接聽!
銷售熱線:021-6810 3333